text.skipToContent text.skipToNavigation

پیچ شش گوش تمام دنده خشکه ( فولادی ) 10.9 داکرومات

HEXAGON HEAD BOLT - FULL THREADED -CARBON STEEL 10.9 - ZINC FLAKE
    کلاس(گرید) 10.9
    پوشش سطح داکرومات ( Zinc Flake )
    جنس کربن استیل (فولادی )
    DIN 933
    ISO 4017
    EN 24017
    ASME B18.2.3.1M
    BS 4190
    GB 5783
    NF E 25-115 , E 25-114
    UNI 5739

    فایلی برای دانلود موجود نیست

    Exclusively for trade customers

    Register now and access more than 125.000 products

    Locate branch office
    Login/Register

    توضیحات

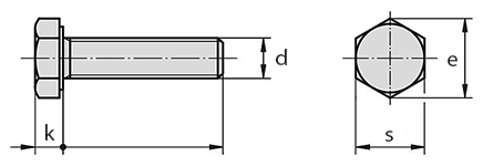
    پیچ های شش گوش استاندارد DIN 933 یا ISO 4017 بصورت تمام دنده می باشند،یعنی سرتا سر ساق آن ها دنده شده است.این پیچ ها را می توان به همراه مهره و یا در سوراخ های دنده شده استفاده کرد.این پیچ ها به سادگی مونتاژ و استفاده می شوند و برای سفت کردن آن ها تنها به آچار ترکمتر ،آچار معمولی یا آچار بکس نیاز دارید.

    پیچ شش گوش تمام دنده خشکه ( فولادی ) 10.9 داکرومات

    محصولات (1081)

    عنوان محصول قیمت واحد [تومان] قطر [mm] طول [mm]   بعدی
    M3X4
    M3 4  
    M3X5
    M3 5  
    M3X6
    M3 6  
    M3X7
    M3 7  
    M3X8
    M3 8  
    M3X10
    M3 10  
    M3X12
    M3 12  
    M3X14
    M3 14  
    M3X16
    M3 16  
    M3X18
    M3 18  
    M3X20
    M3 20  
    M3X22
    M3 22  
    M3X25
    M3 25  
    M3X28
    M3 28  
    M3X30
    M3 30  
    M3X35
    M3 35  
    M3X40
    M3 40  
    M3X45
    M3 45  
    M3X50
    M3 50  
    M3X55
    M3 55  
    نمایش صفحه 1 از 55